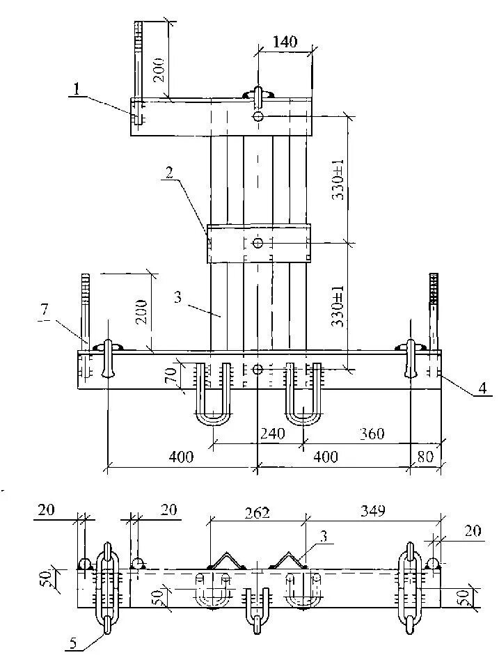
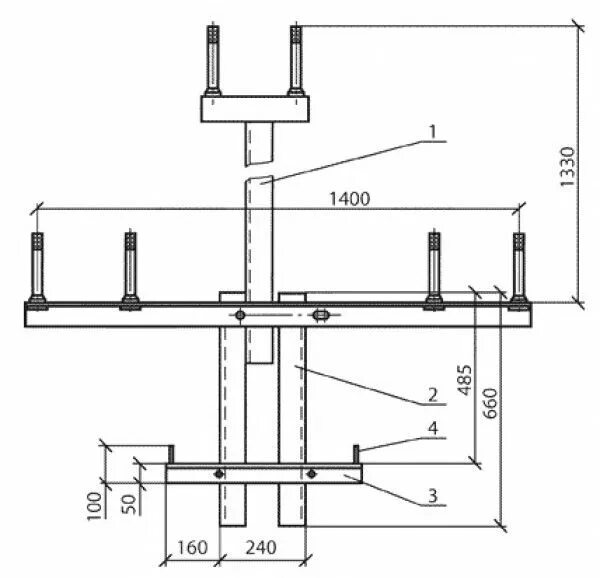
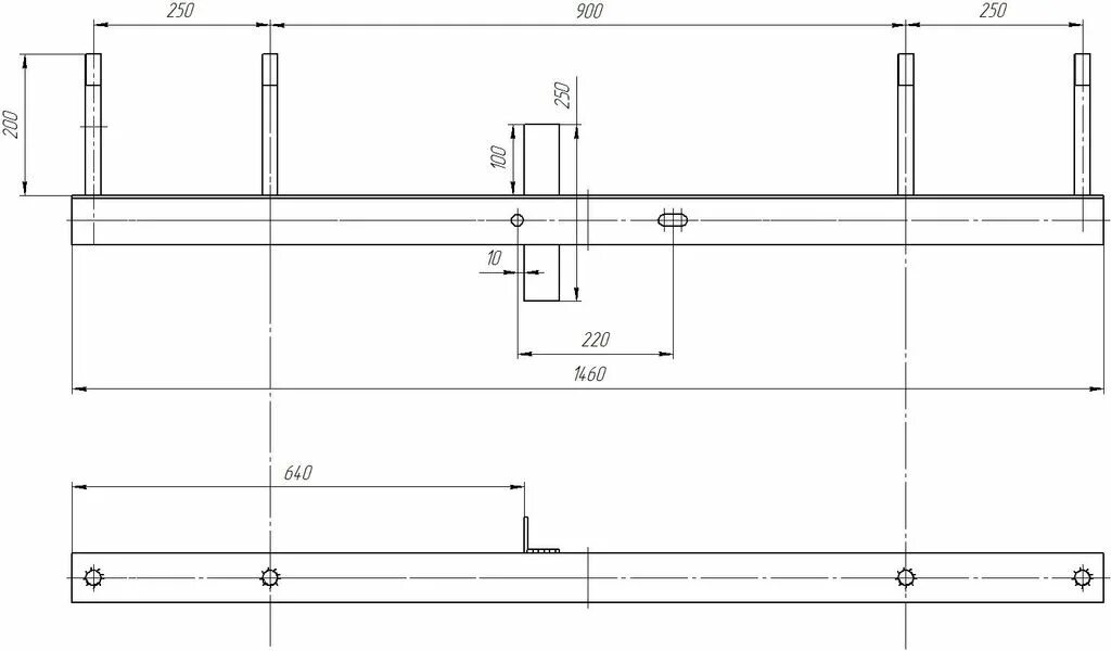
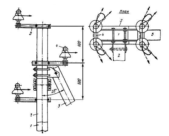
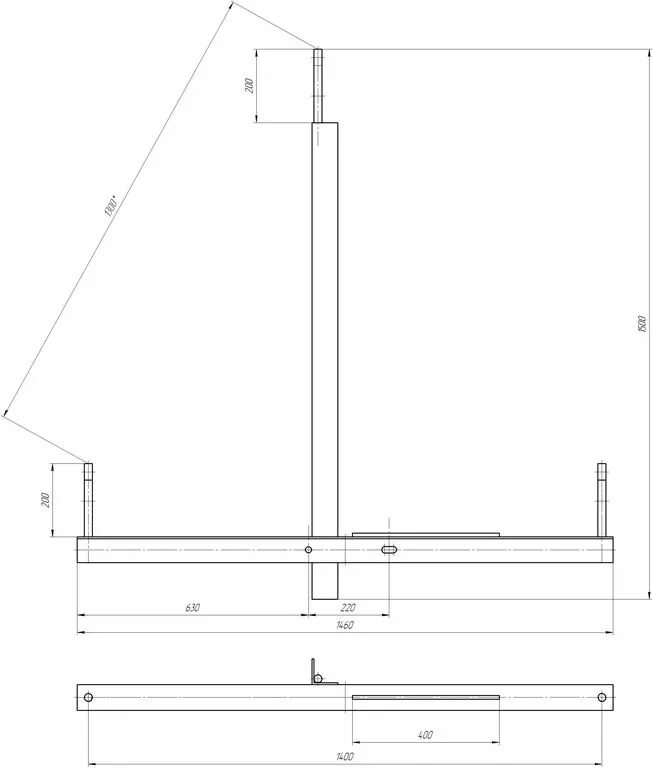
Траверса вл 10 кв