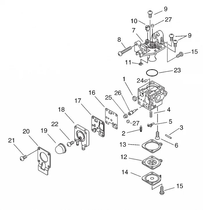
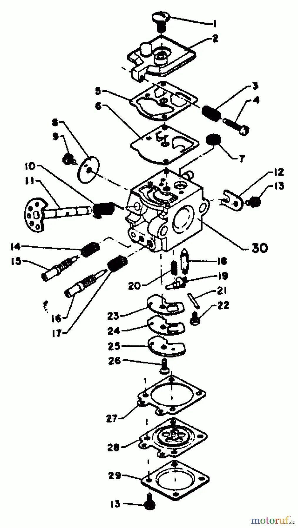
Триммер echo регулировка карбюратора