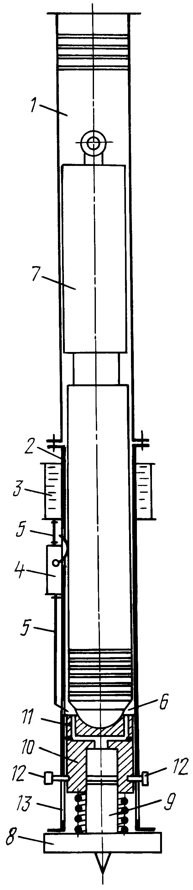
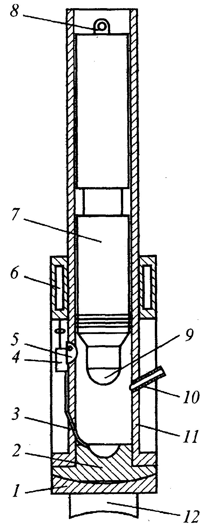
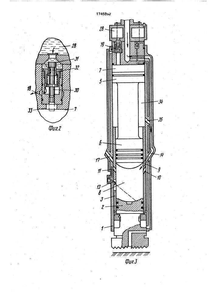
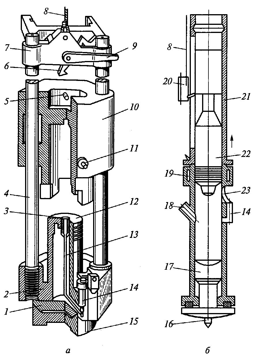
Трубчатый дизель