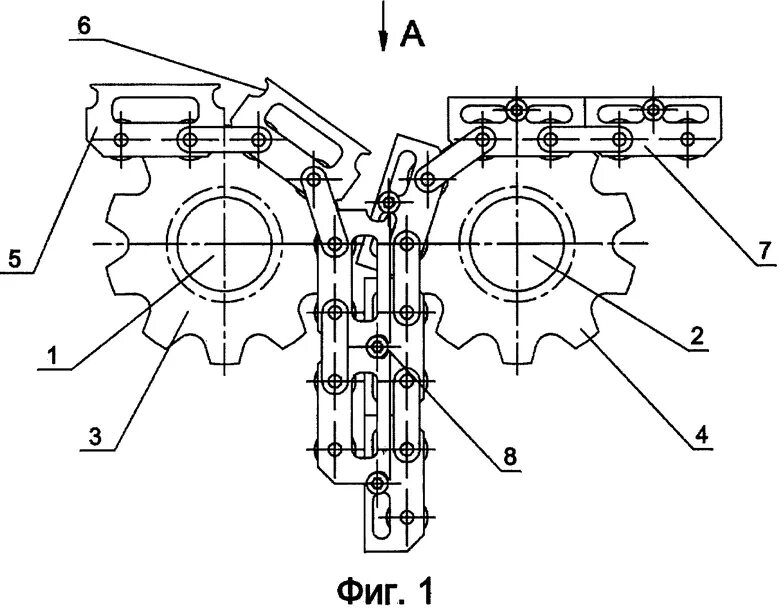
Цепь несущая