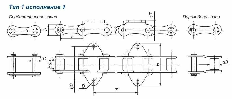
Цепь тип 3