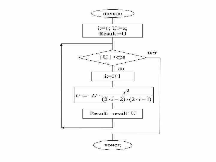
Циклические алгоритмы while