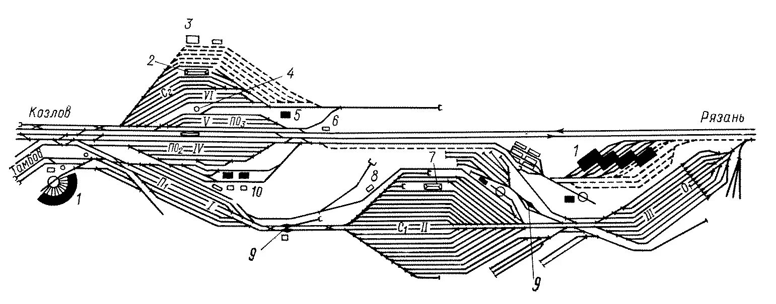
Туту сортировочная