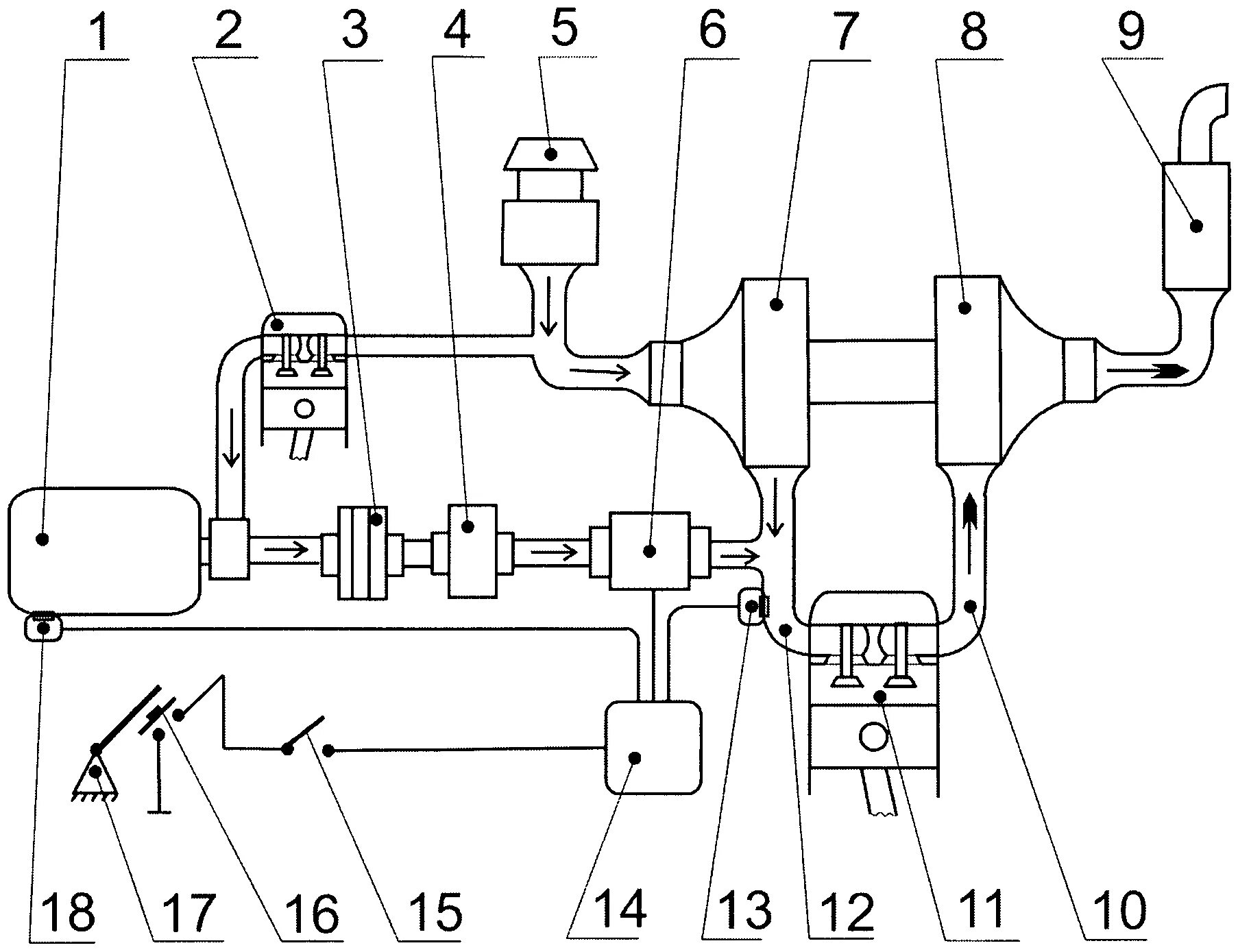
Управление турбины