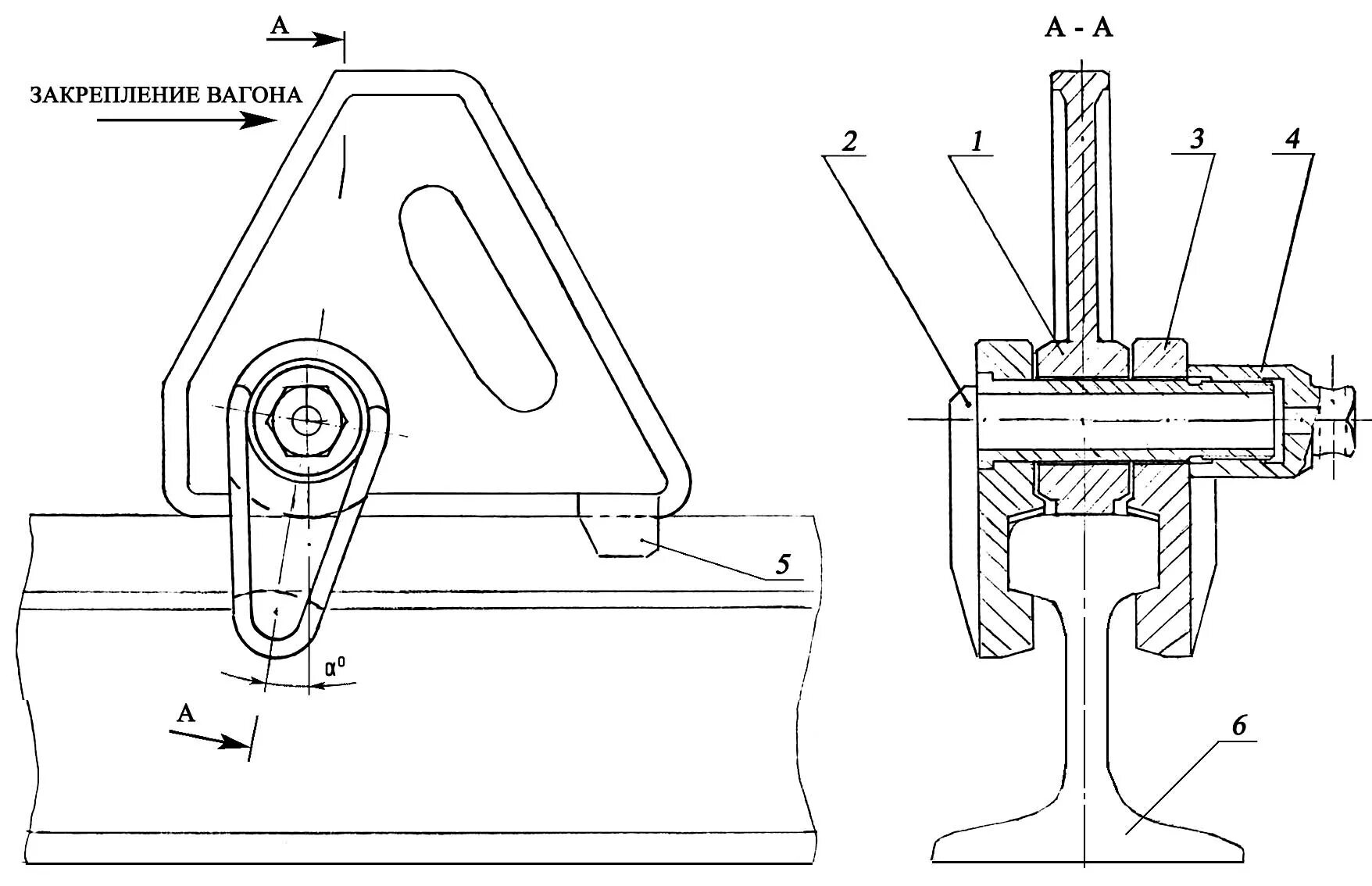
Установка башмаков