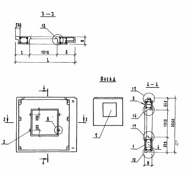
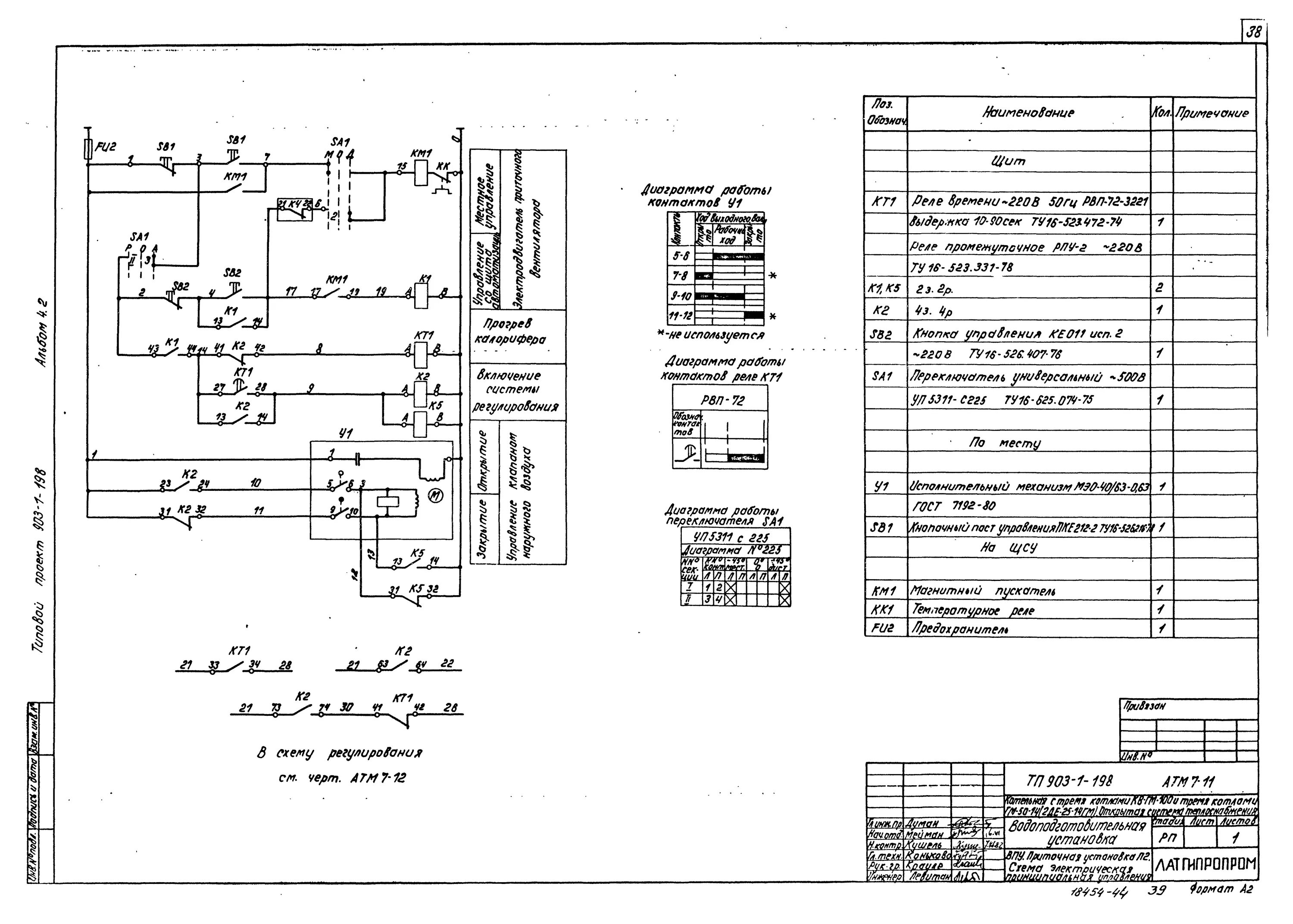
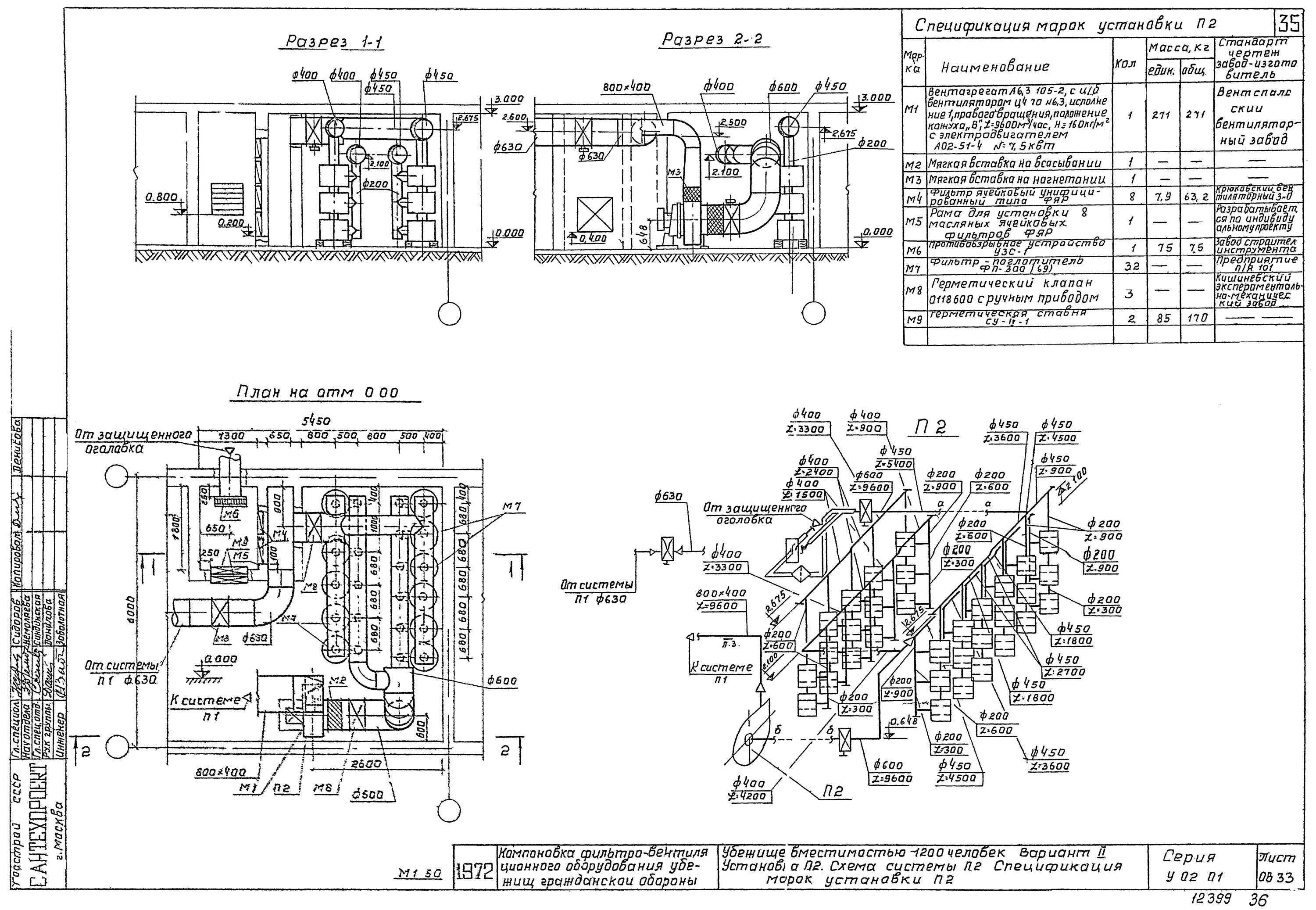
Установка п 2