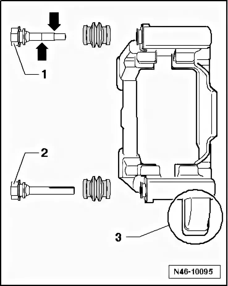
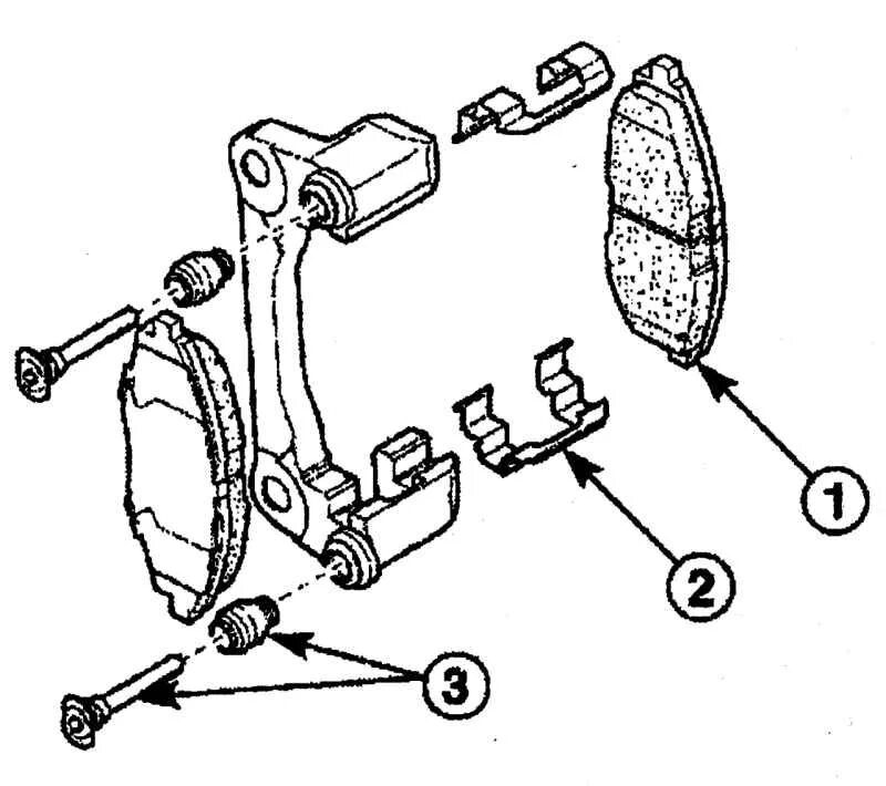
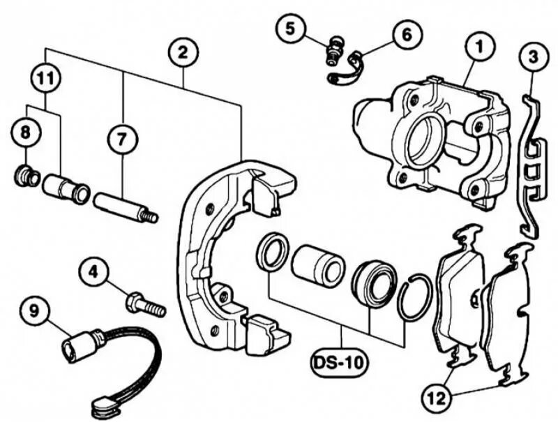
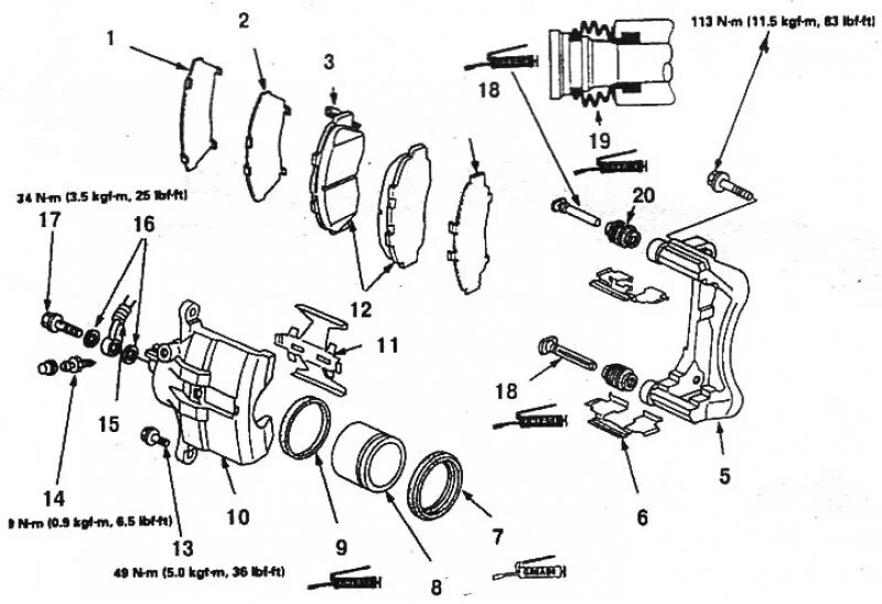
Установка переднего суппорта