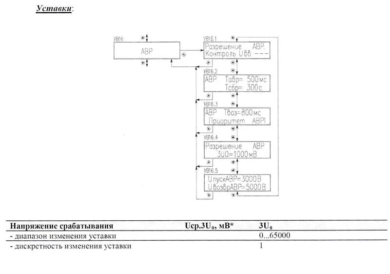
Уставки авр