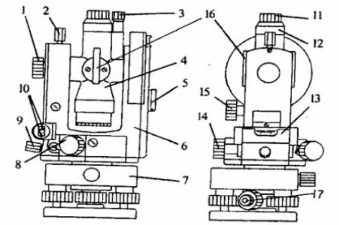
Устр 4