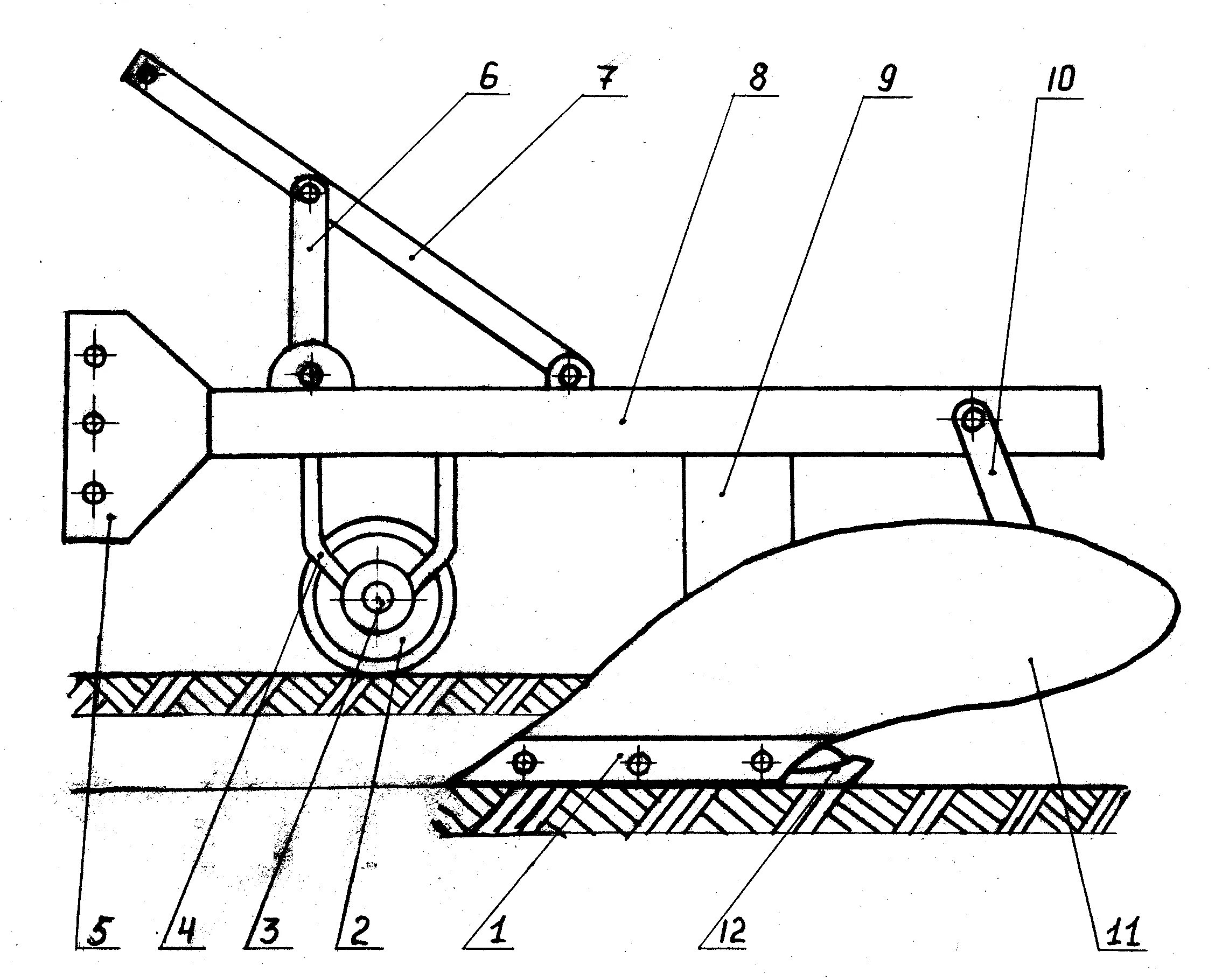
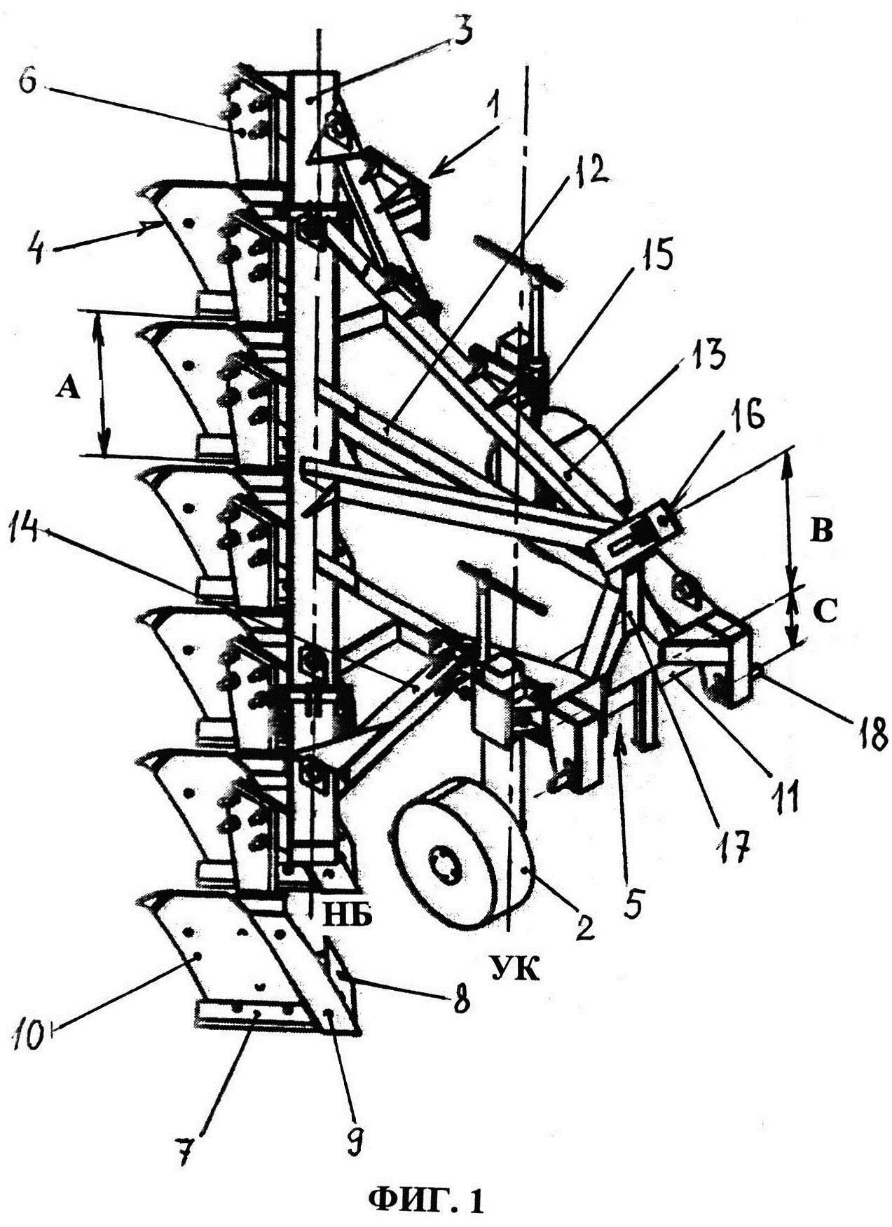
Устройства регулировки плуга