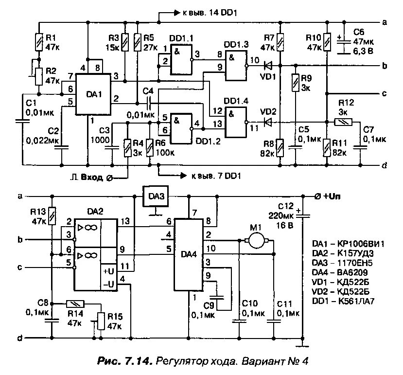
Устройства управления моделями