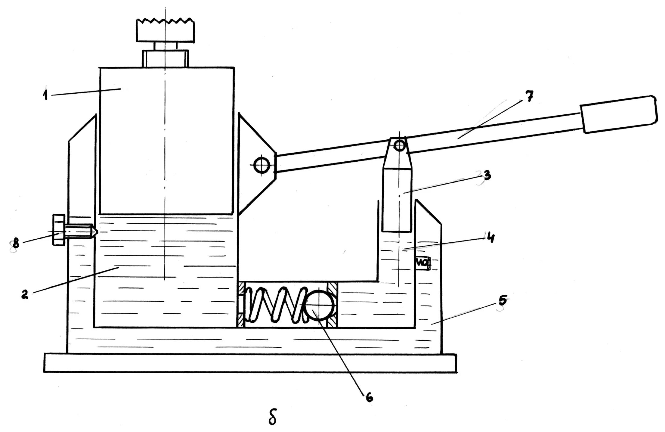
Устройство г 10