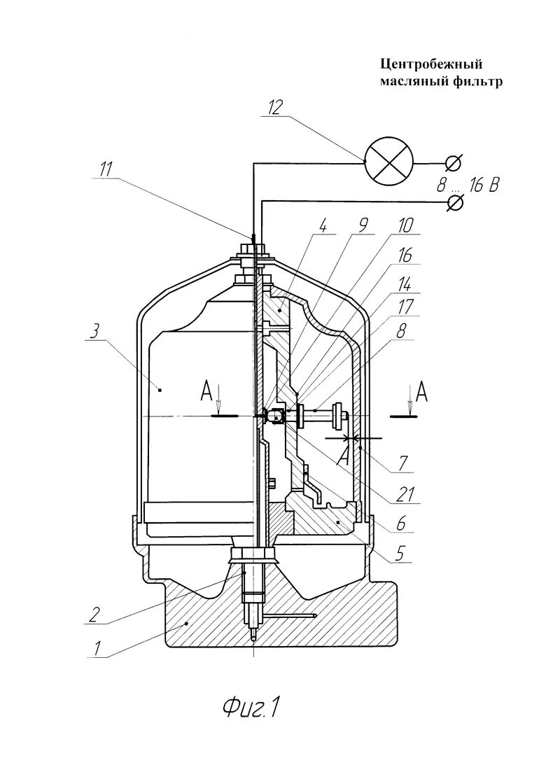
Устройство и работа масляных фильтров