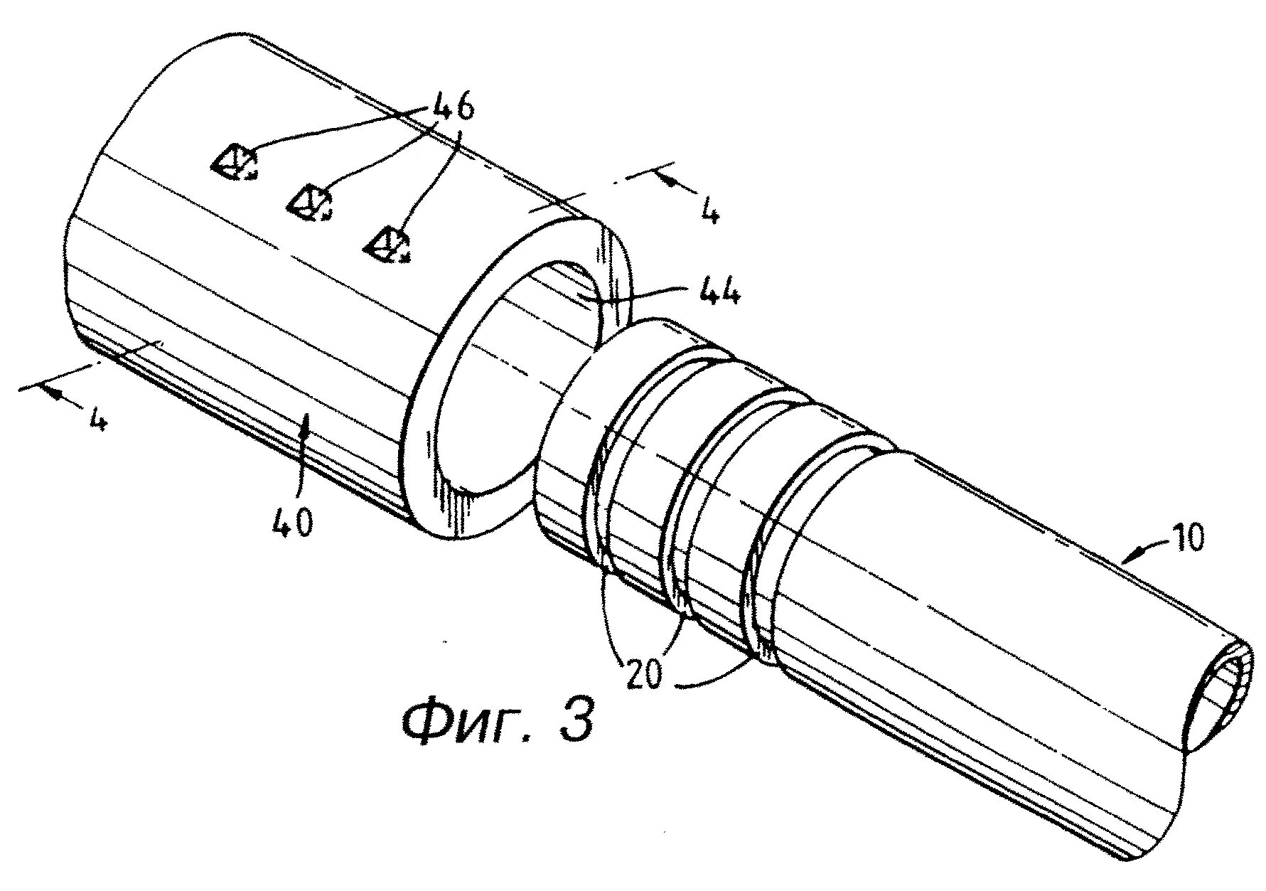
Устройство соединительных элементов