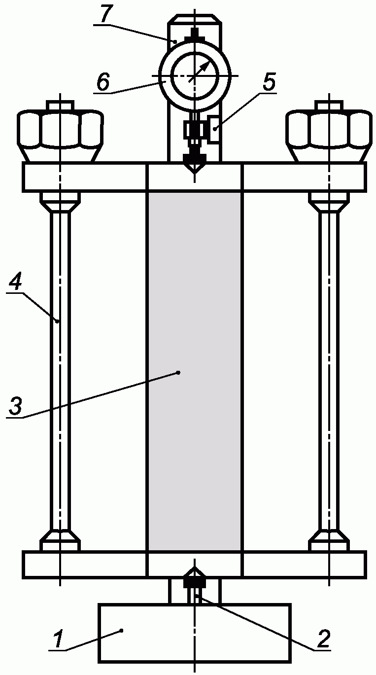
Устройство типа а