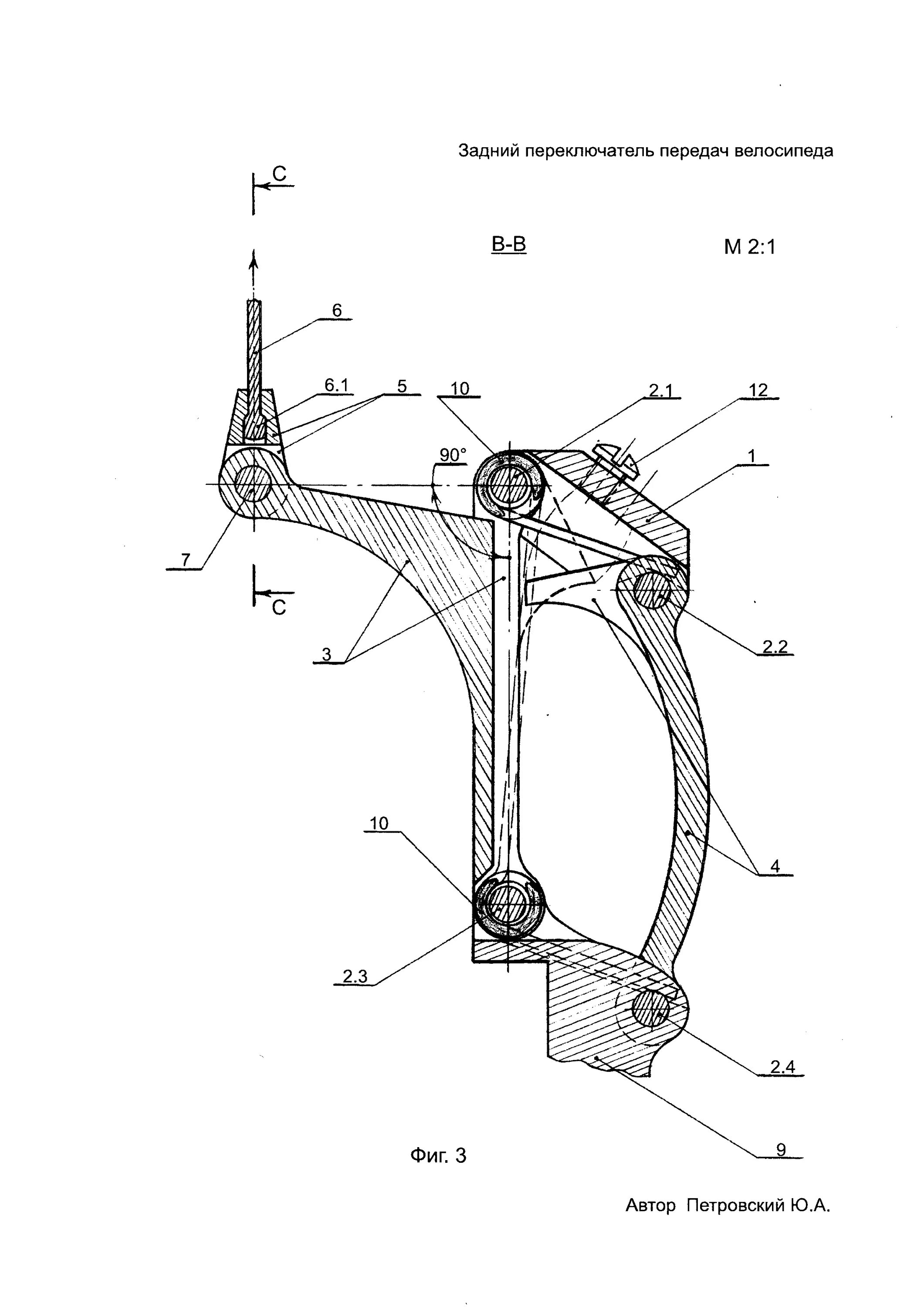
Устройство заднего переключателя