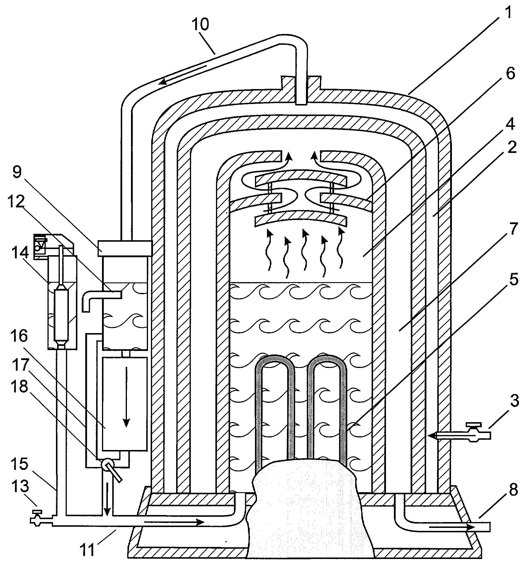
В чем заключается принцип работы дистиллятора