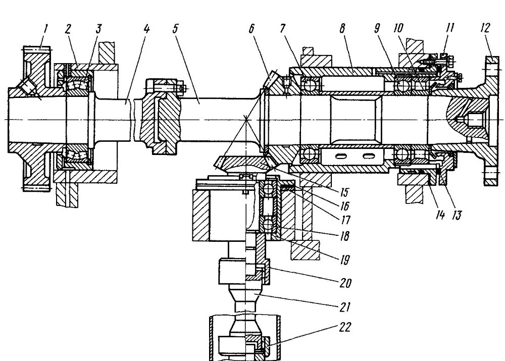
Вал отбор