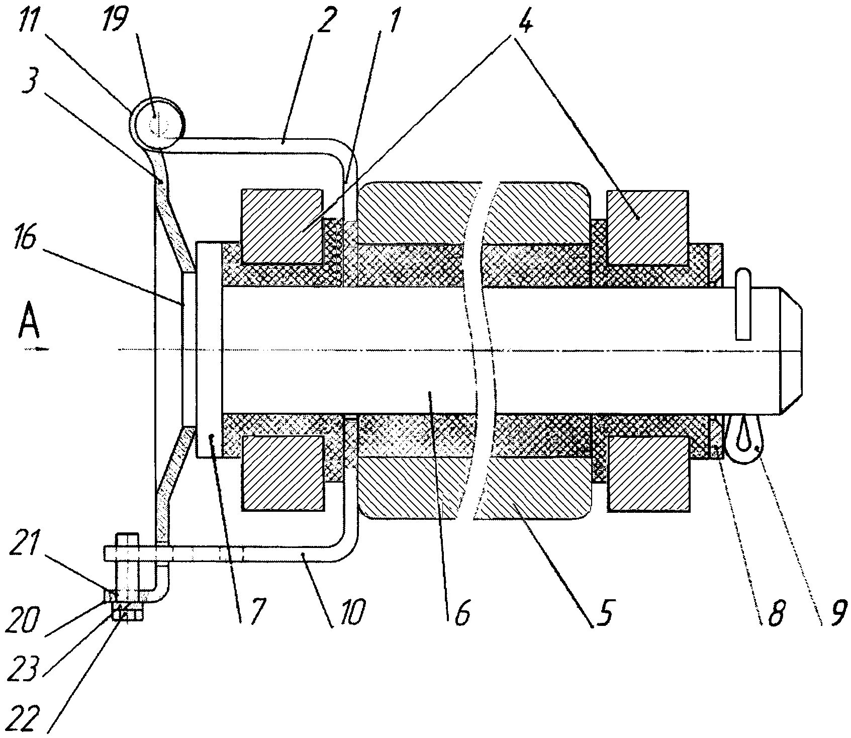
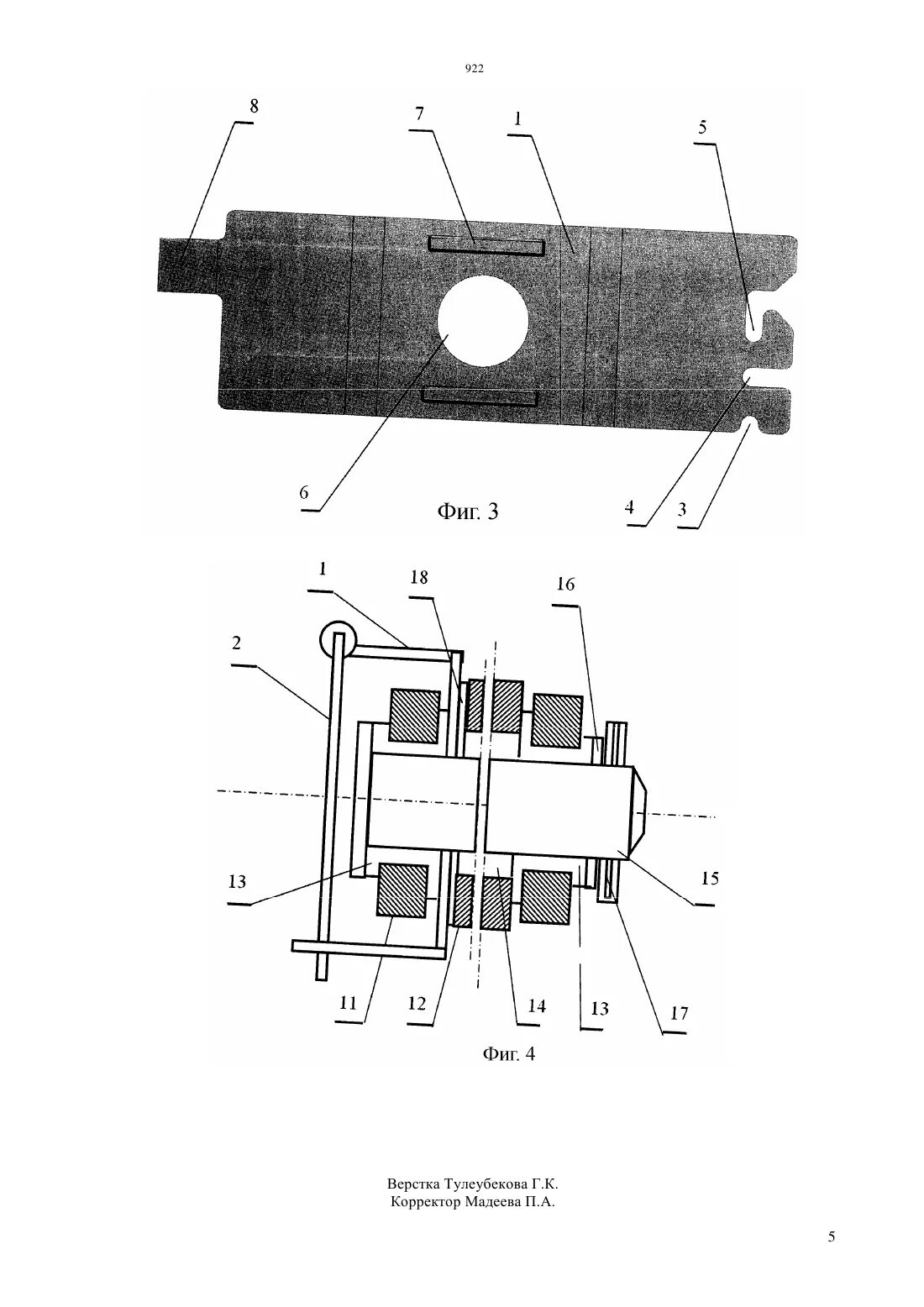
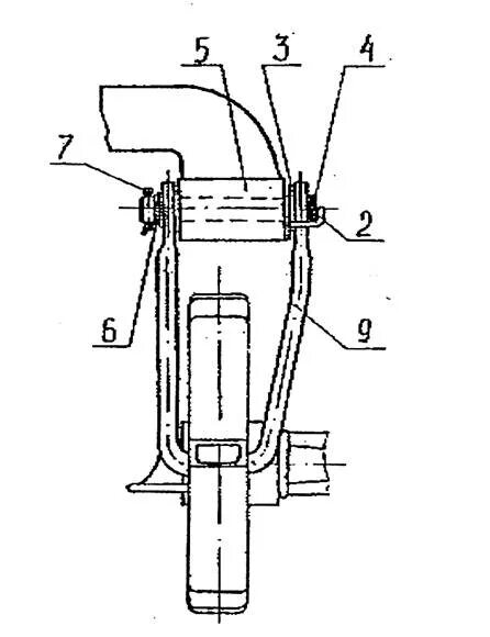
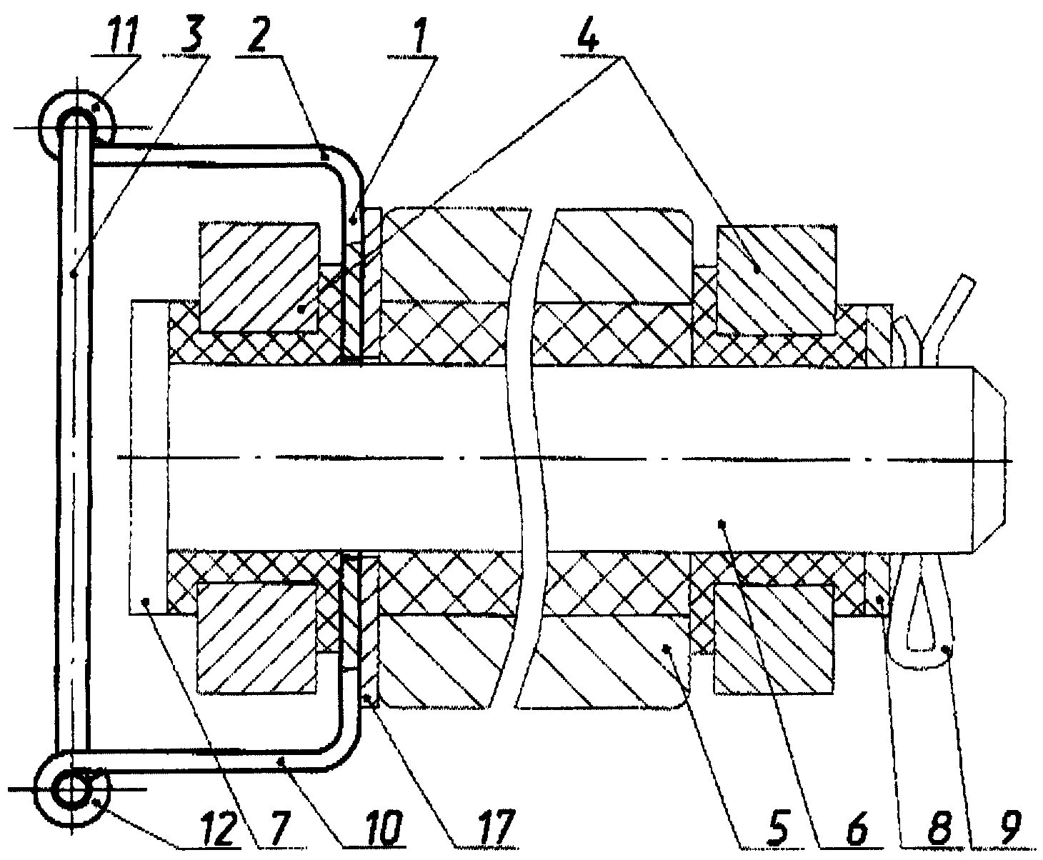
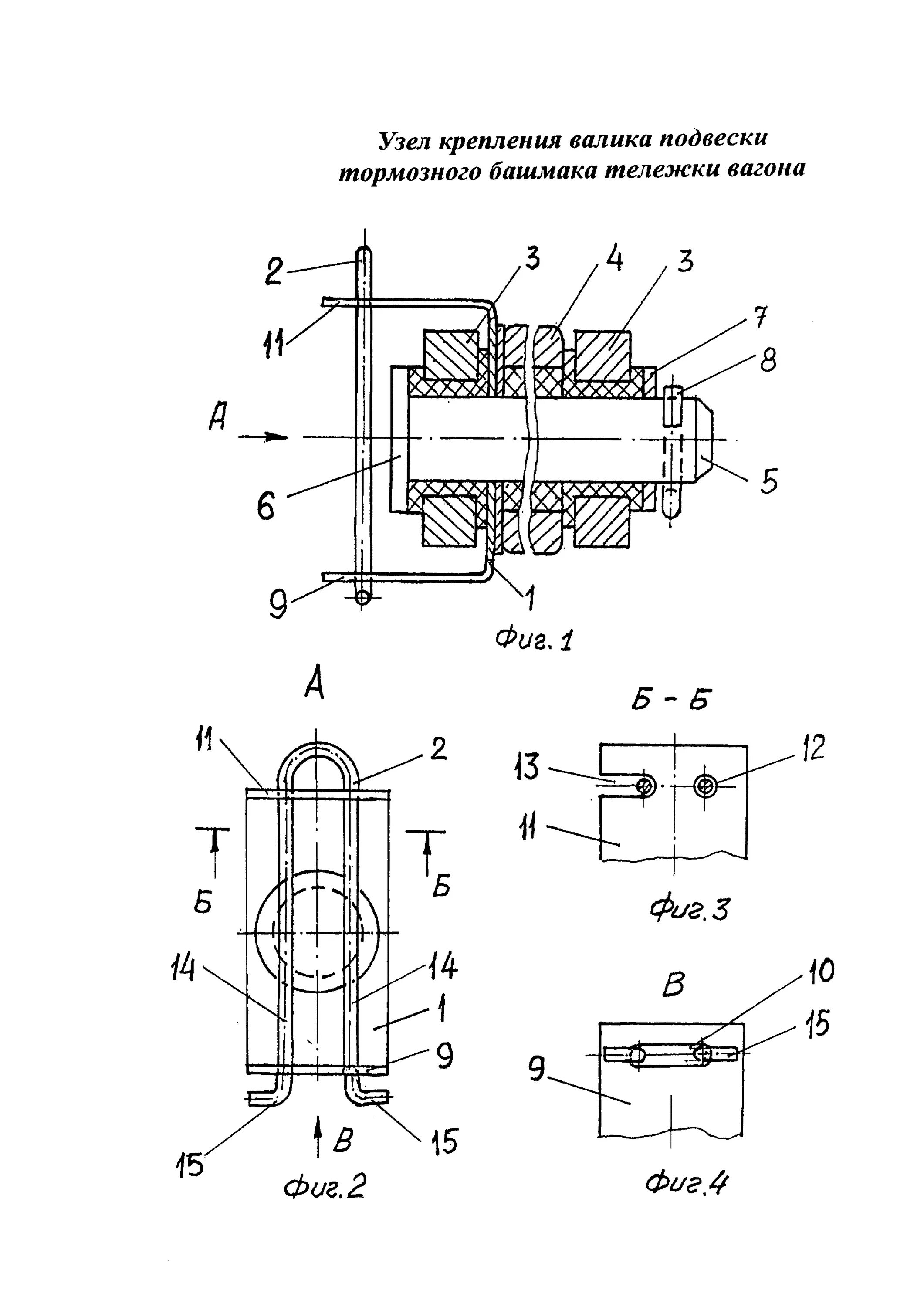
Валик подвески башмака