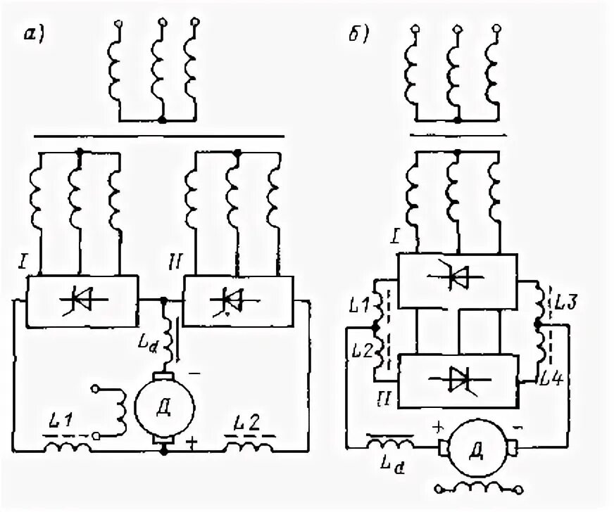
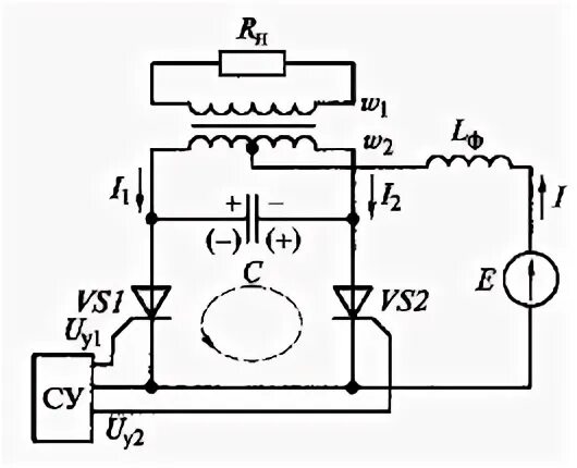
Ведомые инверторы