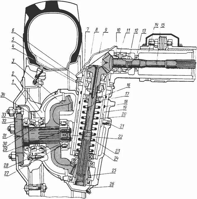
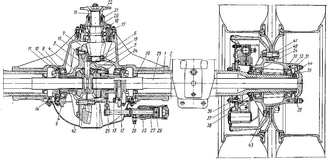
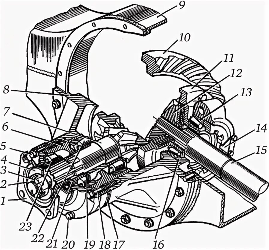
Ведущие мосты тракторов устройство