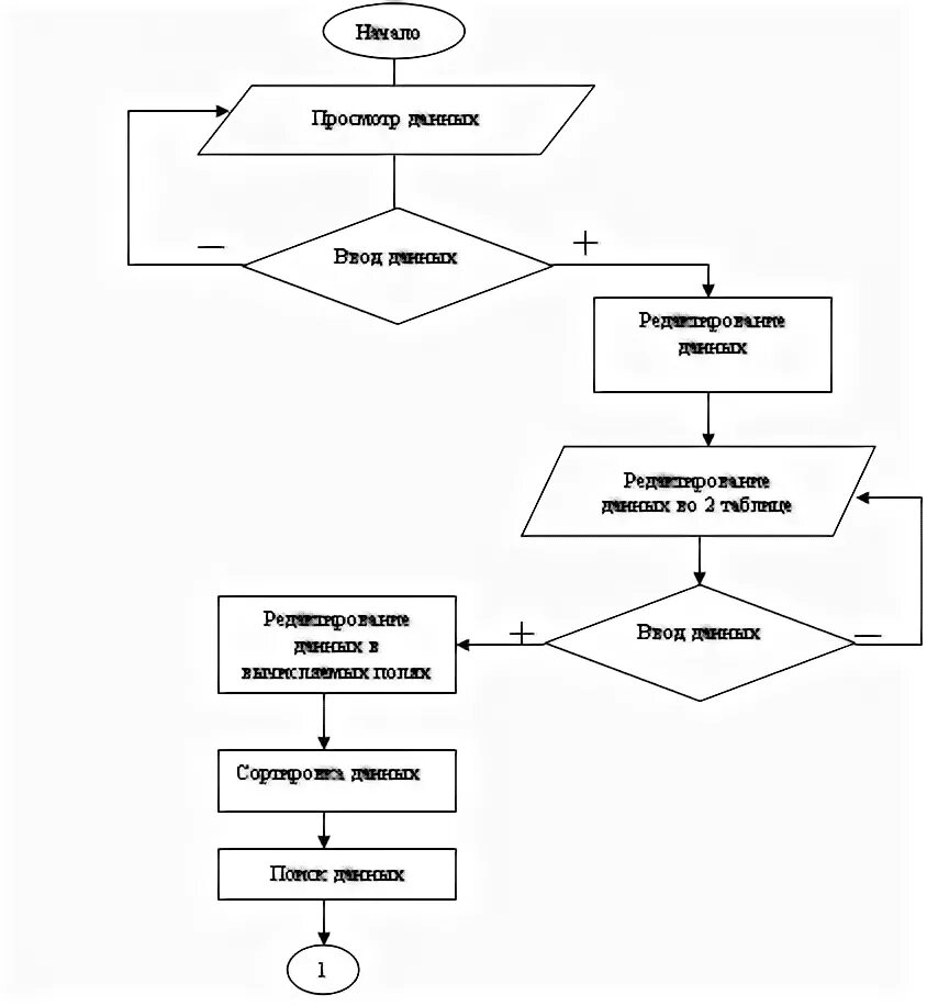
Входными данными алгоритма являются