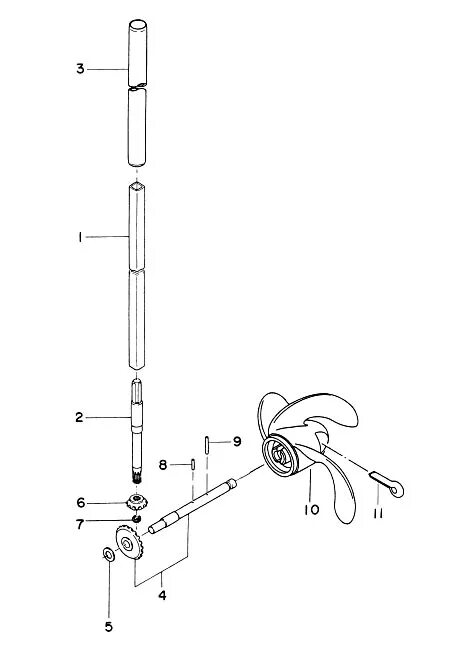
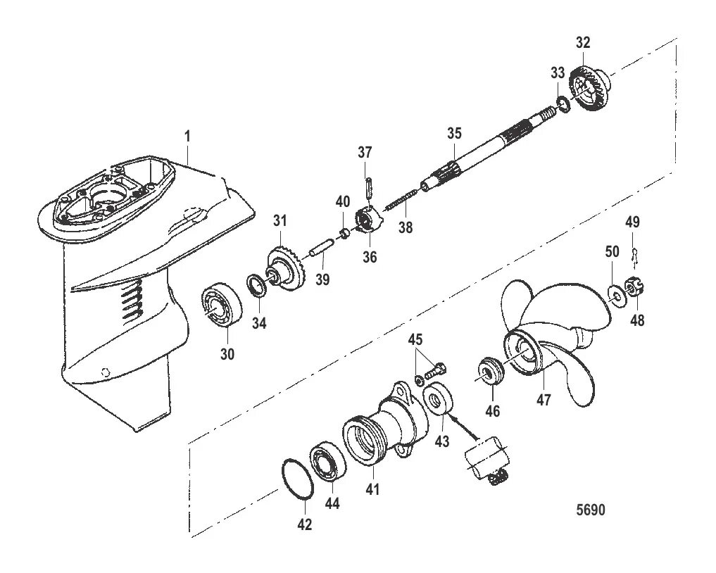
Винт хайди