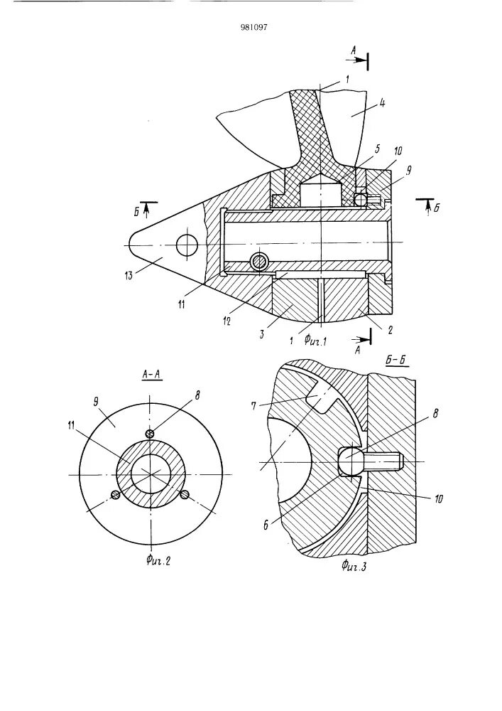
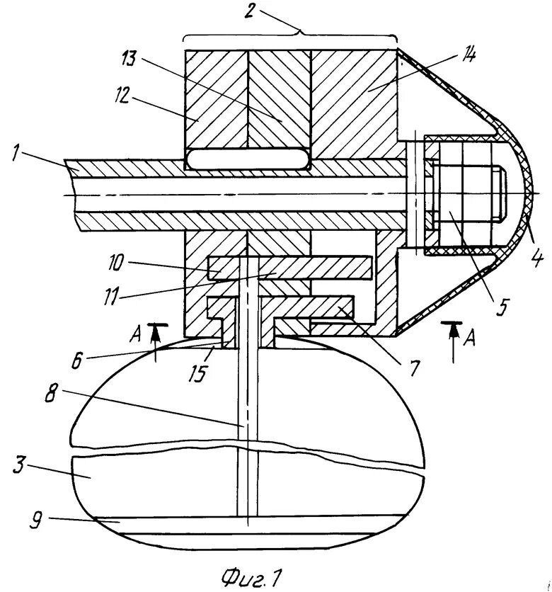
Винт регулированного шага