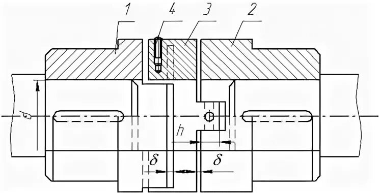
Внутренний торец