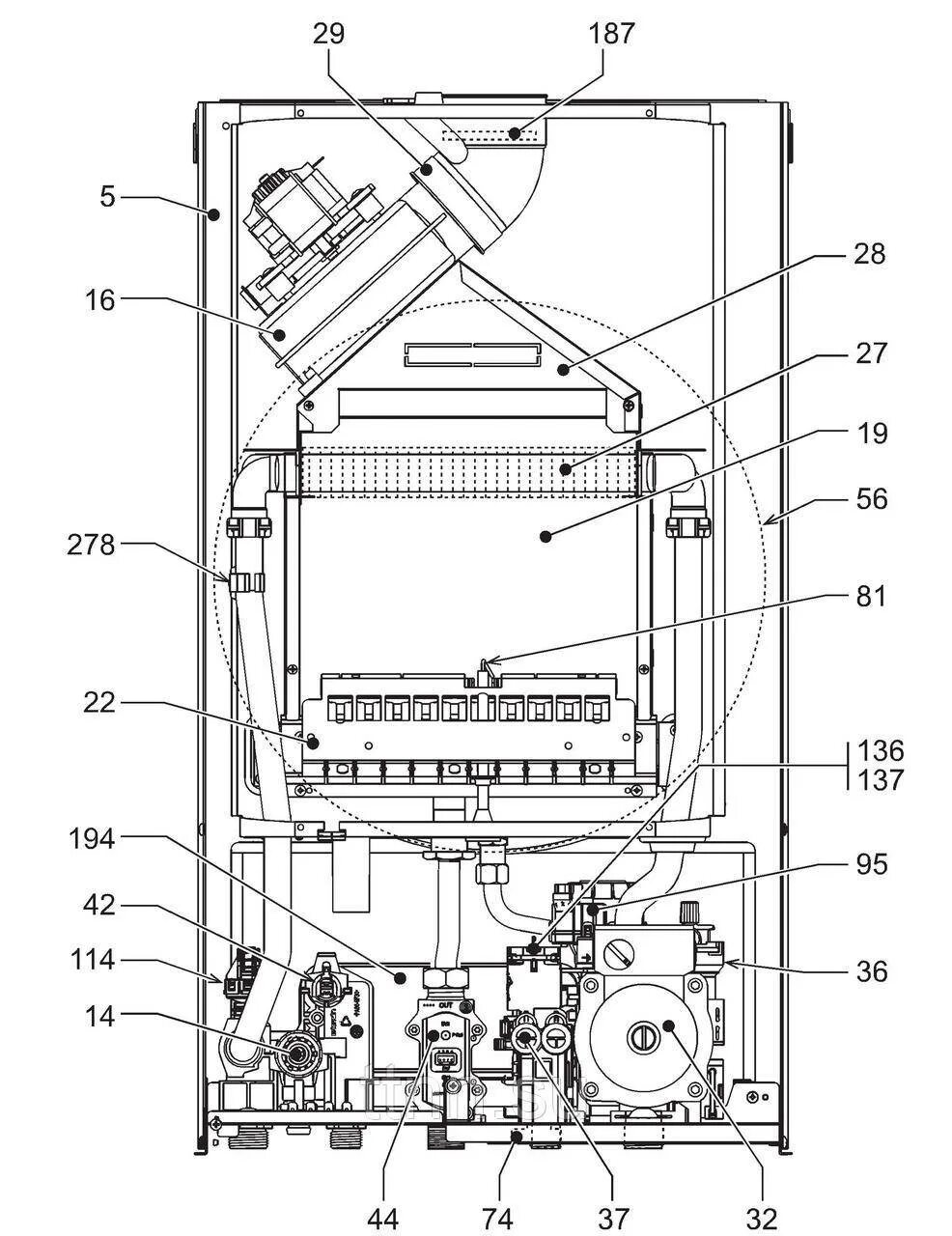
Внутренности котла