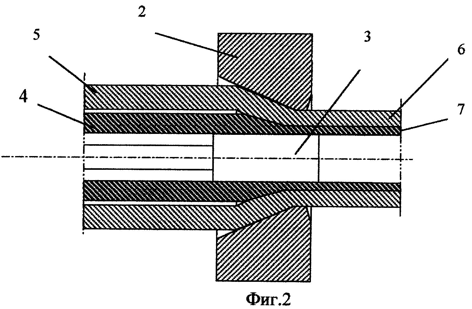
Волочение металла