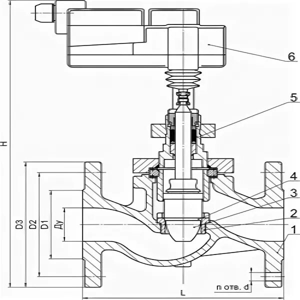
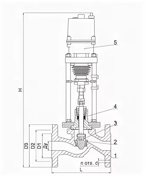
Запорно регулирующий элемент