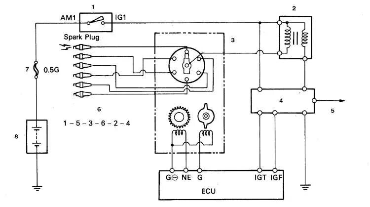
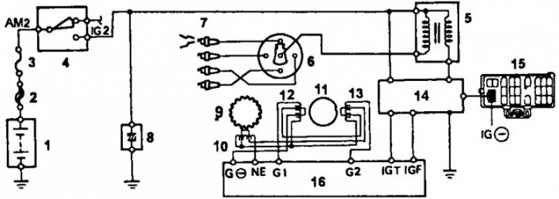
Зажигание 5а